自動検査装置
自動横穴検査機 KHI
高速でワークの横穴検査を実現
ワークの横穴に対する検査を高速に行う検査装置で以下のような特徴を有しています。
特徴
- ベルトによりワークの搬送と回転を同時に実現
ワークの搬送をベルトで行い、ワークが回転しながら移動するのでワーク1個あたりの検査時間が0.5~1.0秒で可能となります。 - 高速画像処理による高速検査
高速カメラによる高速画像処理を行うことでワーク1個につき50~100回の検査を行い、回転しているワークの横穴を確実に検査することができます。 - 簡単な段取り替え
ワーク径が異なるワークへ段替えをする場合、基本的に2か所のシュート幅の調整をすればOKです。 - 穴位置・穴径・二度加工の検査を装備
単なる穴の有無検査ではなく、穴の位置・穴の径・二度加工(複数穴)の検査も行うことができます。
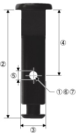
検査例
| No. | 検査項目 | 内容 |
|---|---|---|
| 1 | 穴の有無 | ワークに横穴が存在するかどうかを検査します。 |
| 2 | 全長 | ワーク首下の長さを検査します。測定数値はマスタワークとの差で表されます。 精度…約±0.2㎜ |
| 3 | 外径 | ワークの外径を検査します。 精度…約±0.1㎜ |
| 4 | 穴位置 | 横穴中心のワーク首下からの距離を検査します。測定数値はマスタワークからの差で表されます。 精度…約±0.2㎜ |
| 5 | 穴径 | 横穴の径の検査を行います。 精度…約±0.2㎜ |
| 6 | 横穴バリ | 横穴加工で発生するバリの有無を検査します。 間接的に面取の有無の検査になります。 |
| 7 | 二度加工 (複数穴) |
二度加工により横穴が複数存在しないか検査をします。 |
※ 上記精度は検査速度が120個/分の場合
仕様
| 対象ワーク | 全長:30~100mm 外径:Ø4~Ø16mm 横穴径:Ø1.5mm以上 |
|---|---|
| 最大登録品種 | 128品種(これ以上の場合も対応します) |
| 検査速度 | 60~120個/分 ※検査精度を上げる場合は、検査速度は小さくなります。 |
| 検査項目 | 上記参照 |
| 画像処理部 | KEYENCE CV-5000 |
| オプション | 供給ホッパー 箱替装置 自動電源オフ機能 |

